Испратете ни е-пошта
Производи
CV вакуум генератори
  • CV вакуум генераториCV вакуум генератори
  • CV вакуум генераториCV вакуум генератори
  • CV вакуум генераториCV вакуум генератори
  • CV вакуум генераториCV вакуум генератори
  • CV вакуум генераториCV вакуум генератори

CV вакуум генератори

Model:CV-10HS
Како професионален производство на вакуумски генератори на CV, можете да бидете сигурни да купите генератори на вакуум CV од нашата фабрика и OLK ќе ви понудат најдобра услуга по продажба и навремена испорака.

CV -вакуумските генератори на Ouleikai (OLK) CV се користат за да се обезбеди вакуумско опкружување потребно за млазници за вшмукување или тела. Пристаништето за влез треба да биде поврзано со компресиран воздух, додека чашата за вшмукување е поврзана со вакуумската порта. Кога компресираниот воздух тече од портата за влегување до портата за издувни гасови, се создава вакуум на вакуумското пристаниште. Оваа вакуумска сила може да се користи за придржување на предмети, постигнување на задачи како што се фиксирање или поддршка, со што се подобрува оперативната ефикасност во индустриското производство.


Вакуумските генератори на OLK CV имаат едноставна структура и долг животен век.


Карактеристики на вакуум генератор на CV серии:

1.А вакуум генератор кој користи компресиран воздух за да формира вакуум може да се користи во комбинација со вакуум морон за транспорт на материјали.

2.Вакуум генератори со широк спектар на типови и перформанси за да ги исполнат вашите барања за апликација.CV Серија е генератор на вакуум на плочи.


Симбол:

Код за нарачка
CV - 10 H S
Генератор на вакуум за CV серии
Дијаметар на млазницата (големина на отворот) Достигнат вакуумски притисок Оценет притисок на снабдување со воздух


10: φ1.0 H: -88KPar тип на притисок С: 5 бари


15: φ1.5



20: φ2.0

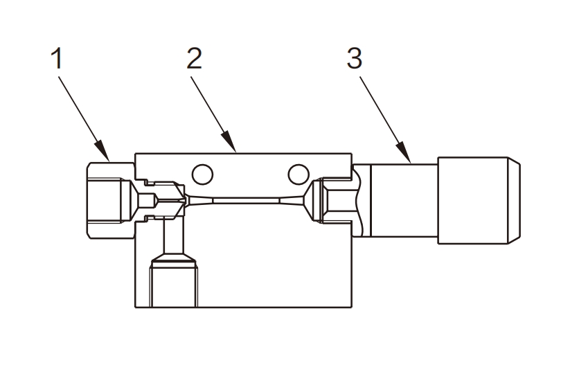
Не. Име Материјал
1 Пристаниште за снабдување Месинг
2 Тело Алуминиум
3 Придушувач Пом

Генерални параметри на вакуум за CV серии 

работен медиум

Компресиран воздух без масло

Опсег на работен притисок МПА (ПСИ)

0,1 ~ 0,6

Работна температура ° C.

0 ~ 60 (не замрзнувајте)

CV серија вакуум генератор различни параметри

Модел A B C D E F G H I J/V порта: вакуум K L/P порта: влез на воздухот O P Порта за придушувач/Р: издувни гасови
CV10 45 33 16 10 8 14 20 4.5 Φ4.2 Г1/8 10 Г1/8 14 90 Г1/8
CV15 64 35 20 11 10 20 25 5 Φ4.5 Г1/4 15 Г1/4 17 123.5 Г1/4
CV20 85 40 30 15 13 28 32 7 Φ6 G3/8 20 Г1/4 17 165.5 G1/2

модел

Дијаметар на млазницата mm

Оценет притисок MPa

Проток на вшмукување r/min (ANR)

Достигне вакуумски притисок kpa

Стапка на проток на потрошувачка на воздух r/min (ANR)

N.W (G)

CV-10HS

1

0.5

27

-0.92

44

80

CV-15HS

1.5

0.5

63

-0.92

100

140

CV-20HS

2

0.5

110

-0.92

180

350

Мерки на претпазливост за генератор на вакуум за CV


1. Стапката на проток на генераторот мора да биде избрана правилно.

Ако стапката на проток е преголема и не е соодветна, разликата во вакуумскиот притисок помеѓу „вшмукување на“ и „вшмукување“ нема да биде јасна.

Ова може да предизвика вакуумскиот прекинувач да не работи правилно.

Вакуумските логички вентили исто така може да го имаат истиот проблем. Ве молиме, обрнете посебно внимание и повикајте се на поврзаните белешки споделени претходно.


2. Набавката на воздухот на вакуумскиот генератор мора да биде суво и чисто.

Помеѓу вакуумската порта и чашата за вшмукување, треба да се инсталира вакуумски филтер доколку е потребно.

Не цицајте во вода, а особено не масло, бидејќи тоа може да ја блокира млазницата.

Излезот за придушувач не смее да биде блокиран.

Ако ја проширите цевката за издувни гасови, ве молиме разгледајте дека слабиот издув може да предизвика да се спушти вакуумскиот притисок.


3.Немети, вакуумскиот систем ја поврзува цевката за удар за да му помогне на чашата за вшмукување брзо да го ослободи работното парче.

Во овој случај, ве молиме проверете дали притисокот и протокот на удар не се премногу високи.

Ако е премногу високо, може да го издува клипот за откривање на притисок и да предизвика да пропадне генераторот.



Најчесто поставувани прашања:

Која е разликата помеѓу вакуумскиот генератор и вакуумската пумпа?


Вакуумската пумпа создава негативен притисок на пристаништето за вшмукување и се исцрпува директно во атмосферата. Го отстранува гасот со одржување на голема разлика во притисокот помеѓу влезот и излезот.


Вакуум генератор го користи протокот на компресиран воздух за да создаде вакуум.


Кои додатоци се потребни за генераторот на вакуум CV?

Еден придушувач и две фитинзи


Зошто нема посебен параметар на сила на вшмукување?

Силата на вшмукување зависи и од вакуумското ниво на генераторот и од големината на чашата за вшмукување.

Формула: Притисок × област = сила.

Големината на чашата за вшмукување е фиксна, но нивото на вакуум се менува со генераторот и стапката на проток. Погледнете го објаснувањето на параметарот за детали.


Зошто не може да се постигне максималниот вакуум?

Ако протокот на вшмукување е премал, тој не може да го надмине истекувањето, предизвикувајќи пад на притисокот. Може да се должи и на недоволно снабдување со воздух на генераторот.

Ако генераторот веќе достигне максимален вакуум, но вшмукувањето е сè уште слабо, чашата за вшмукување може да биде премногу мала. Заменувањето на генераторот нема да го зголеми вшмукувањето во овој случај.


Кој вакуум генератор има посилно вшмукување?

Самиот генератор нема параметар „сила на вшмукување“, само максимално ниво на вакуум.

Максималниот вакуум не е еднаков на вистинскиот вакуум. Вистинската разлика помеѓу моделите е стапката на проток на вакуум.

Сила за вшмукување = вакуум × подрачје на чаша за вшмукување. Тоа е комбинација на генератор и вшмукување чаша што одредува вшмукување.

Ако стапката на проток на вакуум на генераторот е премногу ниска за апликацијата, нивото на вакуум ќе се спушти, а вшмукувањето нема да биде доволно. Во тој случај, треба да изберете

Ставка

Вакуумска пумпа

Вакуум генератор

Максимален вакуум

До 101,3 kPa (може да достигне максимална вредност во исто време)

До 88 kPa (не може да достигне максимална вредност во исто време)

Стапка на проток на вшмукување

Многу голем

Не голем

Структура

Комплекс

Едноставно

Волумен

Голем

Многу мал

Тежина

Тежок

Многу лесна

Услужен живот

Со подвижни делови; релативно долго

Нема делови што се движат; Долг сервисен живот

Потрошувачка на енергија

Релативно висока

Релативно висока

Цена

Високо

Ниско

Инсталација

Незгодно

Погодно

Одржување

Задолжително

Не е потребно

Интеграција со додатоци

Тешко

Лесно

Вакуумска генерација и ослободување

Бавно

Брзо

Пулсираност на вакуум притисок

Со пулсираност, потребен е вакуум резервоар

Не е потребна пулсираност, вакуум резервоар

Полиња за апликација

Погодно за континуирано работење со голем проток; не е погодно за чести почеток/стоп; Најдобро за централизирана употреба

Бара снабдување со компримиран воздух; Погодно за наизменични операции со низок проток; Најдобро за дистрибуирана употреба; Материјалот може да се модифицира за да се постигне отпорност на топлина и отпорност на корозија

Жешки тагови: Генератори на вакуум за CV, Кина, производител, снабдувач, фабрика
Испрати барање
Контакт Инфо
  • Адреса

    Road Zhengtai Road, Xinguang Industrial Zone, Liushi, Yueqing, Wenzhou, Zhejiang, China.

  • Е-пошта

    cici@olkptc.com

Добредојдовте на нашата веб-страница! За прашања за нашите производи или ценовник, ве молиме оставете ни ја вашата е-пошта и ќе стапиме во контакт во рок од 24 часа.
Е-пошта
cici@olkptc.com
тел
86-0577 57178620
Мобилен
+86-13736765213
Адреса
Road Zhengtai Road, Xinguang Industrial Zone, Liushi, Yueqing, Wenzhou, Zhejiang, China.
X
Ние користиме колачиња за да ви понудиме подобро искуство во прелистувањето, да го анализираме сообраќајот на страницата и да ја персонализираме содржината. Со користење на оваа страница, вие се согласувате со нашата употреба на колачиња. Политика за приватност
Отфрли Прифати